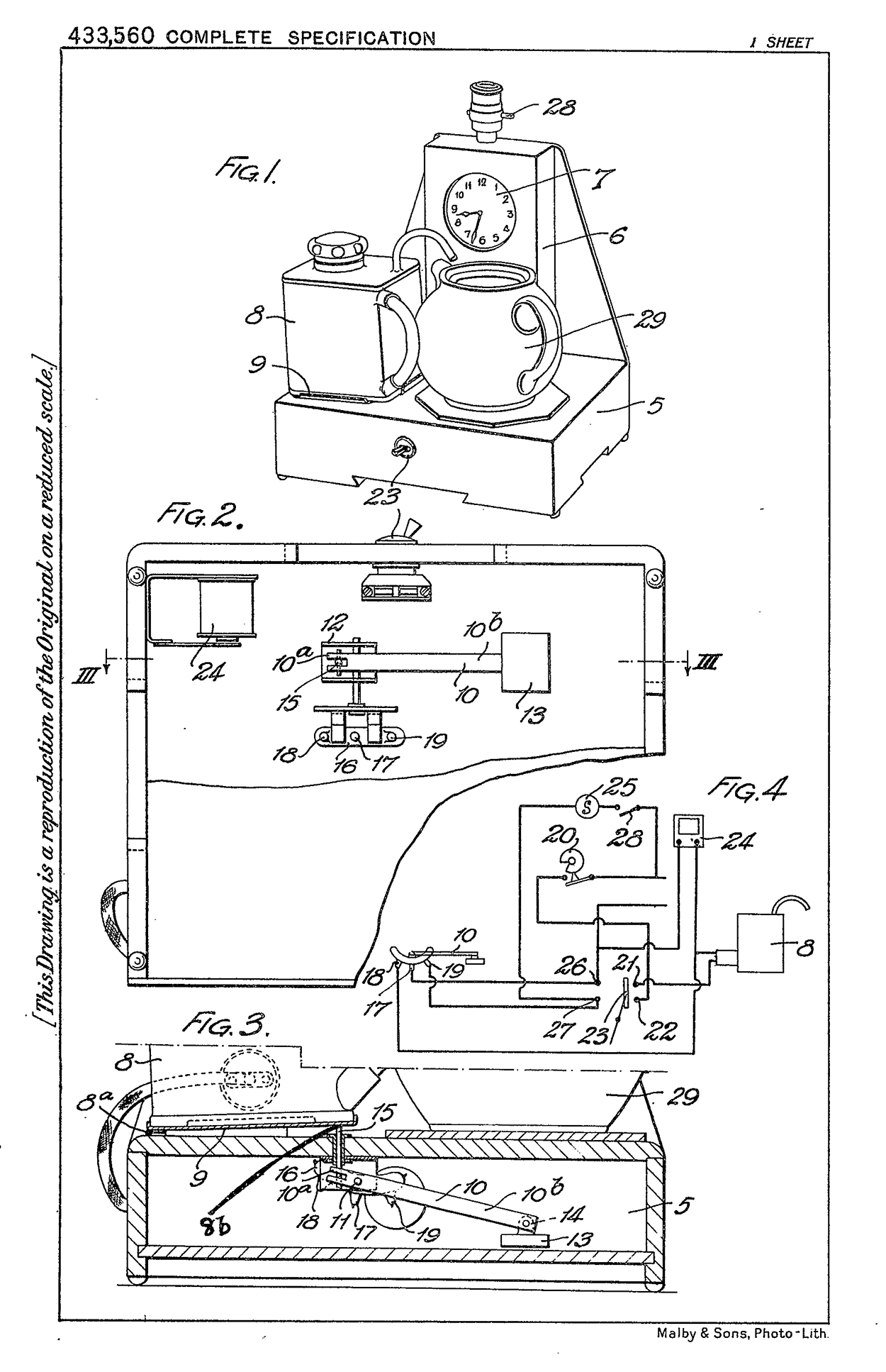
1934 Beckingsale Tea Maker
The battle to produce a commercial electric teasmade was extraordinarily heated. The two earliest inventions were Absolom’s patent application of May 2nd 1932, followed by William Hermann Brenner Thornton‘s (taken up by Goblin) on Jan 27th 1933. Edward Beckingsale’s followed with a patent application on 4th April 1934.
To date all I know of Beckingsale is his address: 90 Basildene Road, Hounslow, Middlesex. I have found no record that this model went into production.


